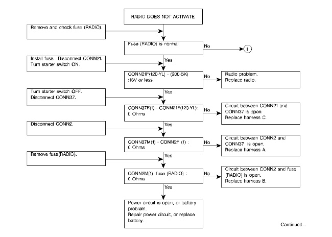
Problem: The radio does not activate.
Solution: Check that the following connectors and components are connected properly: “CONN 2”, “CONN 21” and “CONN 37”. If the problem still exists, use the following procedure to troubleshoot the system.
|
|
|
|
|
|
| Illustration 1 | g00852249 |
|
|
|
|
|
|
| Illustration 2 | g00852250 |

