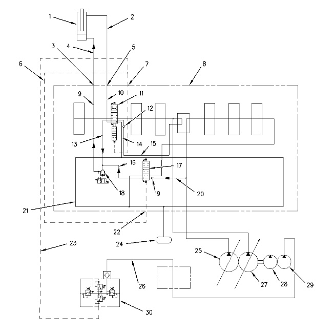
Hydraulic Schematic for Boom Raise
|
|
|
|
|
|
| Illustration 1 | g00867873 |
|
(1) Boom cylinder (2) Line (3) Port (4) Line (5) Port (6) Pilot Line (7) Port (8) Main control valve (9) Passage (10) Passage (11) Boom I control valve (12) Load check valve (13) Passage (14) Passage (15) Parallel feeder passage (16) Passage (17) Boom II control valve (18) Boom drift reduction valve (19) Check valve (20) Parallel feeder passage (21) Return passage (22) Port (23) Line (24) Hydraulic oil tank (25) Right pump (26) Line (27) Left pump (28) Blade pump (29) Pilot pump (30) Pilot control valve (bucket and boom) |
|
Boom Raise
Boom raise operation uses boom I control valve (11) and boom II control valve (17). The boom moves up in high speed when the oil is supplied to the head end of boom cylinder (1) from right pump (25) and left pump (27) .
Boom drift reduction valve (18) is provided in boom I control valve (11). When all control levers are in the NEUTRAL position, boom drift reduction valve (18) stops oil leakage from the head end of boom cylinder (1). Stopping oil leakage prevents boom drift.
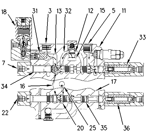
Boom Raise (High Speed)
|
|
|
|
|
|
| Illustration 2 | g00868213 |
|
Boom I control valve (BOOM RAISE) (3) Port (5) Port (7) Port (11) Boom I control valve (12) Load check valve (13) Passage (15) Parallel feeder passage (16) Passage (17) Boom II control valve (18) Boom drift reduction valve (20) Parallel feeder passage (22) Port (25) Right Pump (31) Valve (32) Passage (33) Spring (34) Stem (35) Stem (36) Spring |
|
Oil from left pump (27) flows through parallel feeder passage (15). Parallel feeder passage (15) supplies oil to boom I control valve (11) .
Oil from right pump (25) flows through parallel feeder passage (20). Parallel feeder passage (20) supplies oil to boom II control valve (17) .
When the boom control lever is moved to the full BOOM RAISE position, the pilot oil in pilot control valve (30) flows to pilot line (23). The pilot oil flow then divides. In the first path, oil flows through port (7) into boom I control valve (11). The other path is through line (6) to port (22) to boom II control valve (17) .
The pilot oil flow from port (7) moves stem (34) of boom I control valve (11) to the right against the force of spring (33). The left pump oil in parallel feeder passage (15) flows through load check valve (12), passage (32) and passage (13) to boom drift reduction valve (18). The oil in passage (13) opens valve (31) to the left and the left pump oil flows through port (3) .
As boom I control valve (11) operates, pilot oil at port (22) of boom II control valve (17) moves stem (35) to the right against the force of spring (36). Oil supply from the right pump flows through parallel feeder passage (20) to line (16). The oil then combines with the left pump at the boom I control valve (11). The combined pump oil flows to the head end of boom cylinder (1) .
Return oil from the rod end of boom cylinder (1) flows through return port (5) and back to the hydraulic tank.
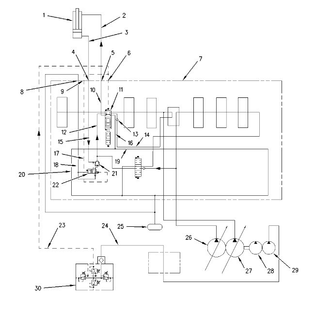
Hydraulic Schematic for Boom Lower
|
|
|
|
|
|
| Illustration 3 | g00867973 |
|
Hydraulic schematic for boom lower (1) Boom cylinder (2) Line (3) Line (4) Port (5) Port (6) Port (7) Main control valve (8) Port (9) Port (10) Passage (11) Boom I control valve (12) Passage (13) Load check valve (14) Parallel feeder passage (15) Passage (16) Passage (17) Passage (18) Passage (19) Return passage (20) Passage (21) Boom drift reduction valve (22) Spool (23) Pilot line (24) Line (25) Hydraulic tank (26) Right pump (27) Left pump (28) Blade pump (29) Pilot pump (30) Pilot control valve (bucket and boom) |
|
Boom Lower
Introduction
When the boom is lowered, oil from left pump (27) is supplied to boom cylinder (1) through boom I control valve (11).
When the control lever is moved to the BOOM LOWER position, pilot oil in pilot control valve (30) divides into two paths through pilot line (23). One flow enters port (6) through line (23). The other flow enters boom drift reduction valve (21) through line (23) and port (9). This pilot oil moves spool (22) of the boom drift reduction valve (21) .
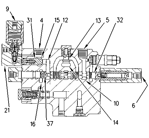
Boom Lower
|
|
|
|
|
|
| Illustration 4 | g00868214 |
|
Boom I control valve (BOOM LOWER) (4) Port (5) Port (6) Port (9) Port (10) Passage (12) Passage (13) Load check valve (14) Parallel feeder passage (15) Passage (16) Return passage (21) Boom drift reduction valve (31) Valve (32) Stem (37) Passage |
|
The pilot oil from port (6) moves stem (32) to the left. The left pump oil in parallel feeder passage (14) flows through load check valve (13). The oil that passes through load check valve (13) flows through passage (10), and out through port (5). The oil then flows to the rod end of boom cylinder (1) through line (2) .
The return oil from the head end of boom cylinder (1) flows through line (3) and passage (15). Pilot oil that flows through port (9) opens valve (31). The return oil then goes through passage (12), passage (37) in the stem and return passage (16). Return passage (16) sends the oil back to the hydraulic tank. This causes the boom to start to lower.



