|
|
|
|
|
|
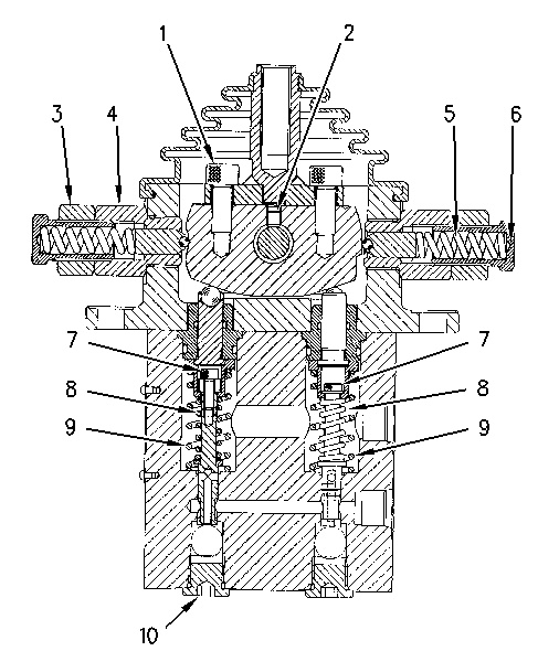
| Illustration 1 | g00858818 |
(1) Torque for two bolts … 30.40 ± 2.94 N·m (22 ± 2 lb ft)
(2) Apply 9S-3263 Thread Lock Compound to the thread of the setscrew.
- Torque for one setscrew … 9.81 ± 0.98 N·m (85 ± 9 lb in)
(3) Torque for two nuts … 19.61 ± 1.96 N·m (175 ± 17 lb in)
(4) Torque for two guides … 60.73 ± 6.86 N·m (45 ± 5 lb ft)
(5) Two 198-8154 Springs
- Outside diameter … 10.5 mm (0.41 inch)
- Free length … 42.0 mm (1.65 inch)
(6) Torque for two screws … 4.90 ± 0.98 N·m (45 ± 9 lb in)
(7) Torque for two bolts … 4.90 ± 0.98 N·m (45 ± 9 lb in)
(8) Two 201-9394 Springs
- Outside diameter … 10.5 mm (0.41 inch)
- Free length … 25.96 mm (1.022 inch)
(9) Two 198-8161 Springs
- Outside diameter … 18.2 mm (0.72 inch)
- Free length … 44.2 mm (1.74 inch)
(10) Torque for two plugs … 31.38 ± 2.94 N·m (23 ± 2 lb ft)
