Hydraulic Schematic For Forward Travel
|
|
|
|
|
|
| Illustration 1 | g00875016 |
|
(1) Left travel motor (2) Right travel motor (3) Swashplate (4) Motor rotary group (5) Orifice (6) Passage (7) Passage (8) Passage (9) Counterbalance valve (10) Line (11) Piston (12) Passage (13) Passage (14) Parking brake (15) Displacement change valve (16) Shuttle valve (17) Line (18) Shock reducing valve (19) Check valve (20) Line (21) Line (22) Swivel (23) Line (24) Line (25) Line (26) Line (27) Line (28) Line (29) Passage (30) Passage (31) Passage (32) Left travel control valve (33) Passage (34) Right travel control valve (35) Passage (36) Passage (37) Pilot control valve (left travel and right travel) (38) Travel speed solenoid valve (39) Pilot manifold (40) Right pump (41) Left pump (42) Pilot pump (43) Spring |
|
Travel Control
Introduction
|
|
|
|
|
|
| Illustration 2 | g00757023 |
|
Travel motor (1) Left travel motor (9) Counterbalance valve |
|
|
|
|
|
|
|
| Illustration 3 | g00757029 |
|
Travel drive (46) Left track (47) Sprocket (48) Left final drive |
|
Left travel motor (1) is supplied oil through swivel (22) from left pump (41). Right travel motor (2) is supplied oil through swivel (22) from right pump (40) .
When left travel motor (1) is operated by left pump oil, the motor torque is transferred to left final drive (48). Left final drive (48) reduces the speed of left travel motor (1). Left final drive (48) increases the torque of left travel motor (1). The increased torque turns left track (46). Left track (46) is driven by left final drive (48) through sprocket (47).
|
|
|
|
|
|
| Illustration 4 | g00869037 |
|
Left console (50) Travel speed control switch |
|
During partial movements of the travel control lever, the travel speed varies with the travel distance of the lever. Travel speed control switch (50) provides a selection of HIGH or LOW travel speed. When travel speed control switch (50) is placed in the “RABBIT” position, the machine travels in the HIGH speed mode. When travel speed control switch (50) is placed in the “TORTOISE” position, the machine travels in the LOW speed mode. HIGH speed mode is recommended on flat surfaces or on moderate slopes in order to gain high mobility.
When HIGH speed (“RABBIT” position) is selected, the travel speed automatically changes. The machine travels at LOW speed when a larger load is present. The machine travels at HIGH speed under a smaller load.
|
|
|
|
|
|
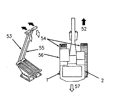
| Illustration 5 | g00759707 |
|
Operation of travel (1) Left travel motor (2) Right travel motor (52) Forward direction (53) Left travel pedal (54) Idler (55) Right travel pedal (56) Cab (57) Reverse direction |
|
The direction of travel is relative to the position of the lower structure. For normal travel, idler (54) is positioned in front of cab (56) and travel motors (1) and (2) to the rear of the cab. With the machine in the normal position of travel, move the travel pedals (53) and (55) forward. The machine will travel in forward direction (52). This movement is called forward travel. When travel pedals (53) and (55) are moved toward the operator, the machine travels in reverse direction (57). This direction is called reverse travel.
When cab (56) is turned to the opposite direction, travel motors (1) and (2) will be positioned in front of the cab. The direction of travel and the operation of travel pedals (53) and (55) are reverse when the machine is in the normal travel direction.
A pivot turn is made when the travelling direction of the machine is changed. When one of the travel pedals (53) or (55) is moved forward, the respective track travels forward. The machine turns because the stationary track acts as the pivot point. This is called a pivot turn.
This machine will spot turn when the travelling direction of the machine is changed in a narrow place. To complete a spot turn operation, move one travel pedal to the rear and the other travel pedal forward at the same time. One track will travel to the rear and the other track will travel forward. The machine will spot turn around the center axis of the machine.
Forward Travel Operation
|
|
|
|
|
|
| Illustration 6 | g00871221 |
|
Main control valve compartment The storage box is removed for clarity. (32) Left travel control valve (34) Right travel control valve |
|
When the travel pedals are operated, pilot oil from pilot control valve (37) shifts the stem in travel control valves (32) and (34). Travel control valves (32) and (34) allow oil flow from left pump (41) and right pump (40) to flow to swivel (22). The swivel transfers oil from the rotating upper structure to the lines in the lower structure. The oil flows to left travel motor (1) and right travel motor (2) .
Note: The right and left travel controls function in the same manner. The explanation for the left travel control will be used to explain both the right and left travel controls.
Pilot oil from control valve (37) flows through line (24) and into left travel control valve (32). The pilot oil shifts the stem of left travel control valve (32). Left pump oil in passage (33) flows through passage (30) to passage (31). The pump oil in passage (31) flows through line (26), swivel (22), line (21), counterbalance valve (9) and check valve (19). Pilot oil enters motor rotary group (4) through passage (12) from the check valve.
Part of the left pump oil flows through counterbalance valve (9), passage (6) and orifice (5) to parking brake assembly (14). Parking brake assembly (14) releases. The left travel motor rotates in the forward direction.
Low Speed
When travel speed control switch (50) is placed in the LOW position, travel speed solenoid valve (38) remains deactivated. Displacement change valve (15) is not activated. Pump oil flow from passage (12) to piston (11) is blocked. The swashplate (3) remains in the maximum angle position. More oil is required to turn travel motor (1) by one rotation. This causes the motor to rotate at a slower speed. The left track travels at a lower speed. The slower speed increases the drawbar pull.
Return oil from motor rotary group (4) flows through passage (8) and counterbalance valve (9). Return oil then flows through swivel (22), passage (27) and passage (29). From passage (29), return oil flows through left travel control valve (32) to return passage (35). The oil flows back to the hydraulic tank through return line (36) .
Oil from the right pump turns right travel motor (2) in the same manner as the left travel motor.
High Speed
|
|
|
|
|
|
| Illustration 7 | g00871224 |
|
Pilot oil manifold compartment (38) Travel speed solenoid valve |
|
The right and left travel motors function in the same manner. The explanation for the left travel motor will be used to explain forward travel in high speed mode.
When travel speed control switch (50) is placed in the HIGH speed position, travel speed solenoid valve (38) is energized. When the pump delivery pressure does not increase to a certain pressure, automatic travel speed solenoid valve (38) remains open. Oil from pilot pump (42) flows through travel speed solenoid valve (38), line (25), swivel (22), and line (17) to displacement change valve (15). The spool in displacement change valve (15) shifts. When the spool shifts, the left pump oil flows through displacement change valve (15) and passage (13) to piston (11) .
The pressure oil in passage (13) moves piston (11), which decreases the angle of swashplate (3). The pressure oil holds swashplate (3) in the minimum angle position. Less oil is required to turn left travel motor (1). Therefore, the motor turns at a higher speed.
When the travel control lever is returned to the NEUTRAL position from the HIGH position, a shock load develops within the motor. This shock load is caused by back pressure in the travel motor. The back pressure is caused by inertia. In order to prevent this shock load, shock reducing valve (18) is located in the travel motor.
Automatic Travel Speed
When travel speed control switch (50) is placed in the HIGH position and a light load is placed on the machine, the displacement of the travel motor is small. The pump circuit pressure increases as the travel load increases. When the pump circuit pressure increases to a certain pressure, the pressure in passage (6) and the force of spring (43) overcomes the pilot pressure in line (17). This moves the spool of displacement change valve (15) to the right. Oil supply to piston (11) is blocked. Swashplate (3) rotates in order to increase the angle. Increasing the angle of the swashplate (3) increases the displacement. When the travel load decreases under this condition, the pump circuit pressure decreases. When the pressure decreases to a certain pressure in passage (6), pilot pressure in line (17) moves the spool of displacement change valve (15) to the left. Piston (11) is moved by the pressure in line (12). This decreases the motor displacement.
Automatic travel speed solenoid valve (38) allows the machine to adjust speeds. The machine will travel at HIGH speed under a small load. The machine will travel at LOW speed under a large load. This ensures that the machine has high mobility and a high drawbar pull.






