|
|
|
|
|
|
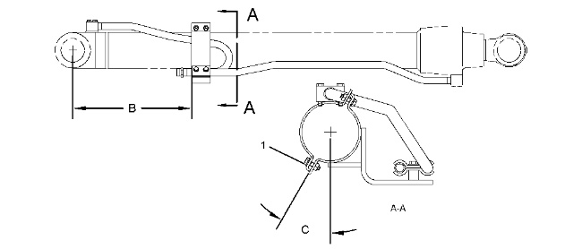
| Illustration 1 | g02752396 |
| Specification for 115-8903 Boom Cylinder Lines Gp | |||
| Item | Qty | Part | Specification description |
| B | – | – | Distance from the centerline of the mounting pin to the support assembly is 480.0 ± 2.0 mm (19.00 ± 0.08 inch). |
| 1 | 4 | 8T-4196 Bolt | Torque to 39 ± 8 N·m (29 ± 6 lb ft). |
| C | – | – | Orient the support assemblies to (30 ± 3 degrees). |
