|
|
|
|
|
|
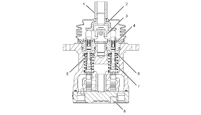
| Illustration 1 | g02540180 |
| Specification for 206-3305 Pilot Valve Gp | |||
| Item | Qty | Part | Specification Description |
| 1 | 1 | 131-5915 Special Nut | Apply Loctite 271 to the threads. Torque to 69 ± 5 N·m (51 ± 4 lb ft). |
| 2 | 1 | 165-9431 Plate | Torque to 69 ± 5 N·m (51 ± 4 lb ft) |
| 3 | 1 | 4I-6365 Joint | Torque to 47 ± 3 N·m (35 ± 2 lb ft). |
| 4 | 4 | 118-4087 Spring | Free length is 10.6 mm (0.42 inch). |
| 5 | 4 | 190-7750 Spring can replace the 165-9461 Spring in order to reduce the operating torque to 70% of the original operating torque. 190-7751 Spring can replace the 165-9461 Spring in order to reduce the operating torque to 80% of the original operating torque. |
|
| 165-9461 Spring | Free length is 41.9 mm (1.65 inch). |
||
| 190-7750 Spring | Free length is 52.0 mm (2.05 inch). |
||
| 190-7751 Spring | Free length is 60.1 mm (2.37 inch). |
||
| 6 | 2 | 225-4816 Spring can replace the 165-9442 Spring in order to provide the operator with more finite control during machine operation. 244-8495 Spring can replace the 165-9442 Spring in order to provide the operator with more control that is equal to the A Series machines. 244-8499 Spring can replace the 165-9442 Spring in order to provide the operator with more control that is comparable to the A Series machines and to the B Series machines. |
|
| 165-9442 Spring | Free length is 29.7 mm (1.17 inch). |
||
| 225-4816 Spring | Free length is 30.5 mm (1.20 inch). |
||
| 244-8495 Spring | Free length is 29.2 mm (1.15 inch). |
||
| 244-8499 Spring | Free length is 29.4 mm (1.16 inch). |
||
| 7 | 2 | 225-4815 Spring can replace the 165-9460 Spring in order to provide the operator with more finite control during machine operation. 244-8494 Spring can replace the 165-9460 Spring in order to provide the operator with more control that is equal to the A Series machines. 244-8498 Spring can replace the 165-9460 Spring in order to provide the operator with more control that is comparable to the A Series machines and to the B Series machines. |
|
| 165-9460 Spring | Free length is 31.1 mm (1.22 inch). |
||
| 225-4815 Spring | Free length is 32.0 mm (1.26 inch). |
||
| 244-8494 Spring | Free length is 30.1 mm (1.19 inch). |
||
| 244-8498 Spring | Free length is 30.6 mm (1.20 inch). |
||
| 8 | 2 | 6V-8337 Bolt | Torque to 21.0 ± 1.5 N·m (185.9 ± 13.3 lb in). |
