320C and 322C Excavators Attachment Hydraulic System – Shuttle Valve (Pilot Lines)



Illustration 1 g02575516
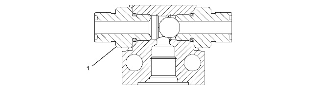
Table 1
Specification for 164-6979 Shuttle Valve Gp    
Item     Qty     Part     Specification Description    
1     2     175-4430 Connector As     Torque to 35 ± 3 N·m (26 ± 2 lb ft).