Hydraulic Schematic Of Main Control Valve
|
|
|
|
|
|
| Illustration 1 | g00872041 |
|
(1) Line relief valve (bucket cylinder head end) (2) Bucket control valve (3) Line relief valve (boom cylinder rod end) (4) Boom I control valve (5) Center bypass passage (6) Attachment control valve (7) Left travel control valve (8) Straight travel control valve (9) Main control valve (10) Center bypass passage (11) Right travel control valve (12) Swing control valve (13) Load check valve (stick cylinder) (14) Line relief valve (stick cylinder rod end) (15) Line relief valve (stick cylinder head end) (16) Blade Control Valve (17) Orifice (18) Parallel feeder passage (19) Main relief valve (20) Parallel feeder passage (21) Return passage (22) Line relief valve (boom cylinder head end) (23) Boom drift reduction valve (24) Orifice (25) Stick II control valve (26) Relief valve for negative flow control (27) Boom II control valve (28) Inlet port (left pump) (29) Inlet port (right pump) (30) Return port (31) Pilot oil manifold (32) Right pump (33) Left pump (34) Blade Pump (35) Pilot pump (36) Relief valve for negative flow control (37) Hydraulic tank (38) Stick I control valve |
|
|
|
|
|
|
|
| Illustration 2 | g00753902 |
|
Main control valve ports (A1) Stick I control valve (STICK OUT) (A2) Swing control valve (SWING LEFT) (A3) Right travel control valve (REVERSE TRAVEL) (A4) Left travel control valve (REVERSE TRAVEL) (A5) Attachment control valve (port) (A6) Boom I control valve (BOOM RAISE) (A7) Bucket control valve (BUCKET OPEN) (B1) Stick I control valve (STICK IN) (B2) Swing control valve (SWING RIGHT) (B3) Right travel control valve (FORWARD TRAVEL) (B4) Left travel control valve (FORWARD TRAVEL) (B5) Attachment control valve (port) (B6) Boom I control valve (BOOM LOWER) (B7) Bucket control valve (BUCKET CLOSE) (PA) Straight travel (R1) Parallel passage (Pa1) Pilot port at stick I control valve (STICK OUT) (Pa2) Pilot port at swing control valve (SWING LEFT) (Pa3) Pilot port at right travel control valve (REVERSE TRAVEL) (Pa4) Pilot port at left travel control valve (REVERSE TRAVEL) (Pa5) Pilot port at attachment control valve (Pa6) Pilot port at boom I control valve (BOOM RAISE) (Pa7) Pilot port at bucket control valve (BUCKET OPEN) (Pa8) Pilot port at stick II control valve (STICK OUT) (Pa9) Pilot port at boom II control valve (BOOM RAISE) (Pb1) Pilot port at stick I control valve (STICK IN) (Pb2) Pilot port at swing control valve (SWING RIGHT) (Pb3) Pilot port at right travel control valve (FORWARD TRAVEL) (Pb4) Pilot port at left travel control valve (FORWARD TRAVEL) (Pb5) Pilot port at attachment control valve (Pb6) Pilot port at boom I control valve (BOOM LOWER) (Pb7) Pilot port at bucket control valve (BUCKET CLOSE) (Pb8) Pilot port at stick II control valve (STICK IN) (Pb9) Pilot port at boom II control valve (BOOM LOWER) (HL) Negative flow signal pressure port (left pump) (HR) Negative flow signal pressure port (right pump) (PL) Discharge port (left pump) (PR) Discharge port (right pump) (PP) Pilot oil supply port (PA) Signal port (Swing parking brake release) (PT) Signal port (travel pressure) (PH) Signal port (travel pressure) (PA1) Pilot port (drift reduction valve) (T) Return port (R1) Make up port (DR1) (DR2) (DR3) Drain ports |
|
Introduction
|
|
|
|
|
|
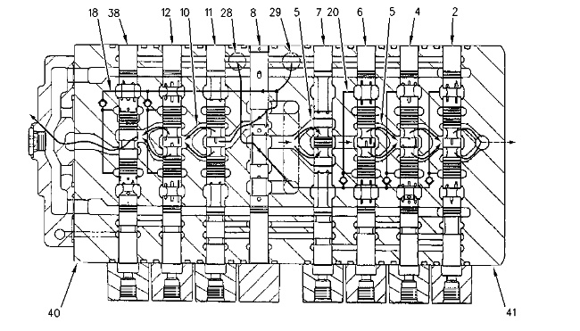
| Illustration 3 | g00754184 |
|
Main control valve (front view) (1) Line relief valve (bucket cylinder head end) (2) Bucket control valve (3) Line relief valve (boom cylinder rod end) (4) Boom I control valve (6) Attachment control valve (7) Left travel control valve (8) Straight travel control valve (11) Right travel control valve (12) Swing control valve (14) Line relief valve (stick cylinder rod end) (15) Line relief valve (stick cylinder head end) (19) Main relief valve (22) Line relief valve (boom cylinder head end) (23) Boom drift reduction valve (25) Stick II control valve (27) Boom II control valve (38) Stick I control valve (40) Right Body (41) Left Body |
|
Main control valve (9) is located in the hydraulic system between the pumps and actuators (cylinders and motors). Depending on the machine operation, components and passages in the valves control oil flow and pressure in the circuits from the right pump (32) , left pump (33) and pilot pump (35) so that the actuators operate in optimum speed and in the correct direction.
The main control valve is a monoblock valve body with two distinct paths of supply oil. The half of the main control valve that is closest to the cab is right body (40) . The half of the main control valve that is farthest from the cab is left body (41) .
Right Body (40)
The following control valves are in parallel in the right body (40) .
- Straight travel control valve (8) .
- Right travel control valve (11) .
- Swing control valve (12) .
- Stick I control valve (38) .
Stick II control valve (25) is mounted in right body (40) . However, left pump (28) supplies oil flow to this control valve.
The right pump oil is delivered through inlet port (29) , center bypass passage (10) and return port (30) to hydraulic tank (37) .
The right body has other important components.
- Main relief valve (19) that limits the main hydraulic system pressure.
- Line relief valve (14) and line relief valve (15) limit the pressure of the stick circuit.
- Stick cylinder drift is reduced by load check valve (13) while the cylinder is in operation.
Left Body (41)
The following control valves are in parallel in the left body (41) .
- Left travel control valve (7) .
- Attachment control valve (6) .
- Boom I control valve (4) .
- Bucket control valve (2) .
- .
Boom II control valve (27) is mounted in left body (41) . However, right pump (29) supplies oil flow to this control valve.
The left pump oil is delivered through inlet port (28) , center bypass passage (5) and return port (30) to hydraulic tank (37) .
The left body has other important components.
- Line relief valve (3) , line relief valve (22) , and line relief valve (1) limit the pressures of the boom circuit and bucket circuit.
- Boom drift reduction valve (23) prevents boom cylinder drift, when the main control valve is in the NEUTRAL position.
Note: Components in left body (41) function in the same manner as components in right body (40) .
The following four configurations are the functions of the main control valve.
- The main control valve is in the NEUTRAL position. No load is placed on cylinders and motors.
- Individual valve operation
- Prevention of cylinder drift with the load check valve.
- Limit the circuit pressure with the relief valve operation.
The description of some components that are installed on the main control valve or in the main control valve will be listed separately. Refer to the appropriate sections that are in this module for further information on the components.
- For more information on boom drift reduction valve (23) , refer to Systems Operation, “Boom Drift Reduction Valve”.
- For more information on straight travel control valve (8) , refer to Systems Operation, “Control Valve (Straight Travel)”.
Main Control Valve Operation In Neutral Position
|
|
|
|
|
|
| Illustration 4 | g00874619 |
|
Main control valve (neutral position) (2) Bucket control valve (4) Boom I control valve (5) Center bypass passage (6) Attachment control valve (7) Left travel control valve (8) Straight travel control valve (10) Center bypass passage (11) Right travel control valve (12) Swing control valve (18) Parallel feeder passage (20) Parallel feeder passage (28) Inlet port (left pump) (29) Inlet port (right pump) (38) Stick I control valve (40) Right body (41) Left body |
|
When the control levers are in the NEUTRAL position, oil from the right pump enters right body (40) through inlet port (29) . Pump oil then goes through center bypass passage (10) . The pump oil then flows to return port (30) and the oil returns to the hydraulic tank. The oil from the left pump enters left body (41) through inlet port (28) . Pump oil then flows through center bypass passage (5) . The pump oil then flows to return port (30) and the oil returns to the hydraulic tank.
Pump oil in parallel feeder passage (18) and (20) , which is supplied through inlet ports (28) and (29) , remains blocked by each control valve stem.
Individual Valve Operation
|
|
|
|
|
|
| Illustration 5 | g00754214 |
|
Bucket control valve (neutral position) (1) Line relief valve (bucket cylinder head end) (2) Port (3) Passage (4) Load check valve (5) Parallel feeder passage (6) Port (7) Pilot port (8) Spring (9) Return passage (10) Stem (11) Center bypass passage (12) Pilot port |
|
The bucket control valve is used as a typical example for describing the operation of individual control valves.
When all pilot control valve levers are in the NEUTRAL position, pilot oil does not flow to port (7) and port (12) from the pilot control valve. Stem (10) is centered in the NEUTRAL position by the force of spring (8) . The left pump oil flows through center bypass passage (11) to the negative flow control circuit and/or to the hydraulic tank.
|
|
|
|
|
|
| Illustration 6 | g00754234 |
|
Bucket control valve (CLOSE position) (2) Port (3) Passage (4) Load check valve (5) Parallel feeder passage (6) Port (7) Pilot port (9) Return passage (10) Stem (11) Center bypass passage (13) Passage (14) Passage |
|
When the bucket control valve is moved to the CLOSE position, pilot oil is supplied to pilot port (7) . Stem (10) moves to the left. Center bypass passage (11) is closed and passage (13) becomes opened. Passage (14) is now connected to return passage (9) .
Left pump oil, that is in parallel feeder passage (5) , goes through load check valve (4) . The oil then goes through passage (3) , through passage (13) and to port (2) . The bucket cylinder rod extends. As the bucket cylinder rod extends, the displaced oil in the rod end flows to port (6) . Oil from port (6) flows through passage (14) to return passage (9) and back to the hydraulic tank.





