|
|
|
|
|
|
| Illustration 1 | g00754662 |
|
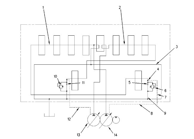
(1) Center bypass passage (2) Center bypass passage (3) Return passage (4) Passage (5) Orifice (6) Relief valve for negative flow control (7) Passage (signal pressure for negative flow control) (PN) (8) Line for negative flow control (9) Passage (10) Relief valve for negative flow control (11) Orifice (12) Line for negative flow control (13) Right pump (14) Left pump |
|
|
|
|
|
|
|
| Illustration 2 | g02284813 |
|
Bottom view of main control valve (6) Relief valve for negative flow control (HL) (10) Relief valve for negative flow control (HR) |
|
The right pump and the left pump receive signal oil pressure from the center bypass passages (1) and (2) of the main control valve. This signal oil pressure (PN) that is created in the center bypass passages of the main control valve is called negative flow control pressure. Negative flow control pressure flows to the regulators at the right pump and the left pump in order to control the output flow of the pumps. Negative flow control pressure is created during the following machine operating conditions.
- All of the joysticks and travel levers/pedals are in the NEUTRAL position.
- Any of the joysticks and/or travel levers/pedals are partially moved from the NEUTRAL position in order to perform a fine control operation.
- A boom lower operation is performed alone.
|
|
|
|
|
|
| Illustration 3 | g00874659 |
|
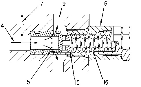
Partial Cross Section of Control Valve (Relief Valve for Negative Control) (4) Passage (5) Orifice (6) Relief valve for negative flow control (7) Passage (signal pressure for negative flow control) (PN) (9) Passage (15) Bypass valve (16) Spring |
|
All of the oil delivery from left pump (14) flows through center bypass passage (1) , passage (4) and negative flow control orifice (5) to return passage (9) . Negative flow control orifice (5) restricts the oil flow. The pressure in passage (4) increases. Increased negative flow control pressure (PN) now flows through passage (7) and negative flow control line (8) to the pump regulator. The negative flow control operation of the left pump regulator causes the swashplate of the left pump to move to the minimum angle position. The output flow of the left pump is decreased due to the increased negative flow control pressure that is created in center bypass passage (1) .
|
|
|
|
|
|
| Illustration 4 | g00874662 |
|
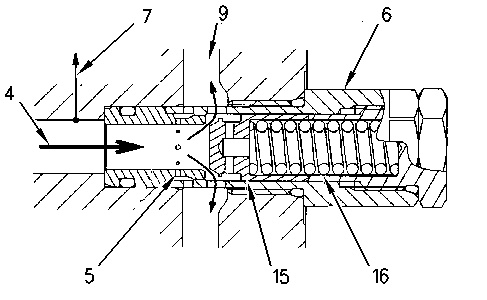
Partial Cross Section of Control Valve (Relief Valve for Negative Flow Control) (4) Passage (5) Orifice (6) Relief valve for negative flow control (7) Passage (signal pressure for negative flow control) (9) Passage (15) Bypass valve (16) Spring |
|
As the oil flow in the center bypass passage (1) increases, the oil pressure in passage (4) reaches the pressure setting of bypass valve (15) . Bypass valve (15) will open. This allows the oil to flow to return passage (9) through orifice (5) and bypass valve (15) . This prevents a shock to the system that is caused by a pressure change.
On no load condition, the full flow of left pump goes to return passage (9) through passage (1) . Left pump oil continues to flow through orifice (5) , bypass valve 15, and () flows into the hydraulic tank.
Because the full flow is restricted by orifice (5) , the pressure (PN) in passage (4) becomes maximum. The pressure (PN) acts on the regulator of the left pump. The swashplate will destroke and pump flow becomes decreases.



