|
|
|
|
|
|
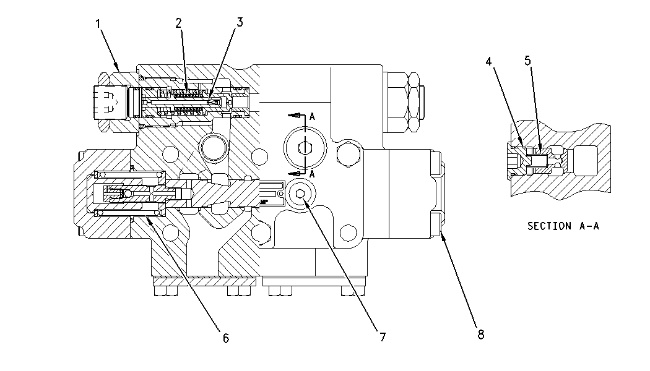
| Illustration 1 | g00676261 |
Bench test of the relief valve
- Pressure setting … 36300 ± 290 kPa (5260 ± 42 psi)
- Input flow rate … 220 L/min (58 US gpm)
Relief valve pressure setting in machine … 36800 ± 1470 kPa (5337 ± 213 psi)
(1) Torque for two relief valves … 540 ± 50 N·m (400 ± 37 lb ft)
(2) Two 114-0516 Springs
- Free length … 43.7 mm (1.72 inch)
- Outside diameter … 19.5 mm (.77 inch)
(3) Two 114-0514 Springs
- Free length … 26.0 mm (.02 inch)
- Outside diameter … 14.1 mm (.56 inch)
(4) Torque for two plugs … 76 ± 8 N·m (56 ± 6 lb ft)
(5) Two 119-5362 Springs
- Free length … 20.0 mm (.79 inch)
- Outside diameter … 10.2 mm (.40 inch)
(6) Two 177-2591 Springs
- Free length … 65.0 mm (2.56 inch)
- Outside diameter … 34.0 mm (1.34 inch)
(7) Torque for two plugs … 31.0 ± 3.0 mm (1.22 ± .12 inch)
(8) Torque for eight bolts … 80 ± 8 N·m (59 ± 6 lb ft)
