|
|
|
|
|
|
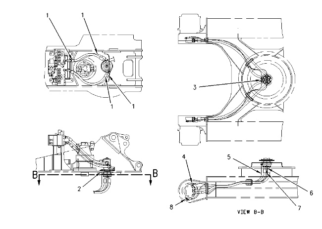
| Illustration 1 | g00676502 |
(1) Torque for four hose assemblies … 190 ± 20 N·m (140 ± 15 lb ft)
(2) Apply 9S-3263 Thread Lock between the mating surfaces of the swivel and the cover of the frame assembly under the carriage.
(3) Torque for tee … 40 ± 5 N·m (30 ± 4 lb ft)
(4) Torque for two elbows … 80 ± 7 N·m (59 ± 5 lb ft)
(5) Torque for two hose assemblies … 40 ± 5 N·m (30 ± 4 lb ft)
(6) Torque for tee … 80 ± 7 N·m (59 ± 5 lb ft)
(7) Torque for two hose assemblies … 80 ± 7 N·m (59 ± 5 lb ft)
(8) Torque for two elbows … 40 ± 5 N·m (30 ± 4 lb ft)
