|
|
|
|
|
|
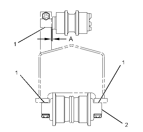
| Illustration 1 | g01419271 |
(A) Clearance between the track carrier roller and the mounting bracket … 7.0 ± 0.5 mm (0.28 ± 0.02 inch)
(1) Before assembly, the surfaces must be clean and free of protective coating.
(2) Install the track roller group with the clear plug toward the outside of the machine.
