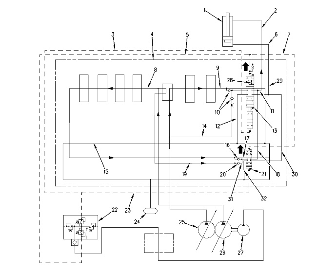
Hydraulic Schematic For Stick Circuit
|
|
|
|
|
|
| Illustration 1 | g00875367 |
|
(1) Stick cylinder (2) Line (3) Pilot line (4) Main control valve (5) Pilot line (6) Line (7) Pilot line (8) Center bypass passage (9) Center bypass passage (10) Load check valves (11) Passage (12) Passage (13) Stick I control valve (14) Parallel feeder passage (15) Return passage (16) Load check valve (17) Passage (18) Passage (19) Parallel feeder passage (20) Load check valve (21) Stick II control valve (22) Pilot control valve (swing and stick) (23) Pilot line (24) Hydraulic oil tank (25) Right pump (26) Left pump (27) Pilot pump (28) Check valve (29) Passage (30) Passage (31) Passage (32) Return passage |
|
Stick Control
Introduction
Stick I control valve (13) and stick II control valve (21) are used to attain STICK OUT and STICK IN positions of the stick. Oil flow from right pump (25) and left pump (26) are combined. This oil flow is directed to stick cylinder (1) by stick I control valve (13) and by stick II control valve (21) .
Stick Out
When the control lever is moved to the STICK OUT position, pilot oil from pilot control valve (22) divides into two paths.
One path goes through pilot line (3) and pilot oil enters stick I control valve (13). The oil shifts the stem of stick I control valve (13) upward. The right pump oil in center bypass passage (9) now flows through load check valve (10) and passage (11). Right pump oil enters stick I control valve (13). Oil then flows through line (2) to the rod end of the stick cylinder.
The other path flows through pilot line (23). The oil then flows into stick II control valve (21). The stem shifts upward.
Left pump oil flows in several paths and left pump flow also combines with the right pump oil. The stick cylinder will retract faster.
- Left pump oil in center bypass passage (8) flows through load check valve (16), stick II control valve (21), and flows to passage (18) .
- Left pump oil in parallel feeder passage (19) goes to load check valve (20), and stick II control valve (21) to passage (18) .
- Left pump oil flow in passage (18) combines with right pump oil in passage (11) .
Return oil from the head end of the stick cylinder flows through line (6). Return oil also divides into two paths in passage (29). One oil path that enters stick I control valve (13) flows through return line (12) to return passage (15) and back to the hydraulic tank. The other passage goes through passage (30) and stick II control valve (21) to return passage (31) .
Stick In
When the control lever is moved to the STICK IN position, pilot oil from pilot control valve (22) goes through pilot line (5). Pilot oil in pilot line (5) divides into two flow paths.
One path enters stick I control valve (13). This shifts the stem of the control valve downward. Right pump (25) sends oil through center bypass passage (9), to load check valve (10), to stick I control valve (13), and to passage (29). The oil then flows through line (6) to the head end of the stick cylinder.
The other path flows through pilot line (7). The oil then flows into stick II control valve (21). The stem shifts downward.
Left pump oil flows in several paths and left pump flow also combines with the right pump oil. The stick cylinder extends faster.
- Left pump oil in center bypass passage (8) flows through load check valve (16), and stick II control valve (21) to passage (30) .
- Left pump oil in parallel feeder passage (19) goes to load check valve (20), and stick II control valve (21) to passage (30) .
- Total oil flow of the left pump goes through stick II control valve (21) to passage (30) and combines with right pump oil in passage (29) .
Return oil from the rod end of the stick cylinder goes to line (2). Return oil also divides into two paths in passage (11). One path goes through passage (18) to stick II control valve (21). Oil flow in passage (18) is blocked by stick II control valve (21) .
Although the other path connects from stick I control valve (13) to return passage (15) through passage (12) to the hydraulic tank, return flow is capable of going through check valve (28) within the stick I control valve. This allows oil to flow to passage (29) to the head end of the stick cylinder. If the pressure in the head end of the stick cylinder is lower than the rod end of the stick cylinder, it is possible to supply return oil through check valve (28) to the head end. This allows the stick cylinder speed to increase.
If the head end of the stick cylinder has a higher pressure than the rod end of the stick cylinder, return oil will flow through line (2). After line (2), the return oil will flow through the stick I control valve, passage (12), and passage (14) back to the hydraulic tank.
