
14 RENR9968-02
Systems Operation Section
i02630349
Air Inlet and Exhaust System
SMCS C ode: 1050
g01115385
Illustration 9
(1) Inlet to the engine
(2) Aftercooler core
(3) Inlet air line
(4) Exha u st outlet from turbocharger
(5) Turbine side of turbocharger
(6) Compressor side of turbocharger
(7) Air cleaner
The engine components of the air inlet and exhaust
system control the quality of air and the amount of
air that is available for combustion. The components
of the air inlet and exhaust system are the following
components:
•
Air cleaner
•
Turbocharger
•
Aftercooler
•
Cylinder head
•
Valves and valve system components
•
Piston and cylinder
•
Exhaust manifold
The turbocharger compressor wheel pulls inlet air
through the air cleaner and into the air inlet. The air
is compressed and this causes the air to become hot.
The air flows through aftercooler core (2) and the
temperature of the compressed air lowers. This helps
to provide increased horsepower output. Aftercooler
core (2) is a separate cooler core that is mounted
along the side of the engine radiator. The engine
fan causes ambient air to move across both cores.
This cools the turbocharged inlet air and the engine
coolant.
Air is forced from the aftercooler in to inlet m a nifold
(1). The air flow from the inlet port into the cylinders
is controlled by inlet valves.
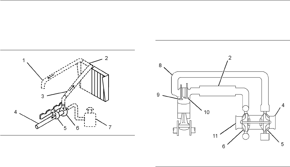
g01319128
Illustration 10
Air inlet a
nd exhaust system
(2) Aftercooler core
(4) Exhaust outlet
(5) Turbine side of turbocharger
(6) Compressor side of turbocharger
(8) Exhaust manifold
(9) Exhaust valve
(10) Inlet valve
(11) Air inlet
Each cylinder has two inlet valves (10) and two
exhaust valves (9) in the cylinder head. The inlet
valves open o
n the inlet stroke. When the inlet valves
open, compressed air from the inlet port within the
inlet manifold is pushed into the cylinder. The inlet
valves clos
ewhenthepistonbeginsthecompression
stroke. The air in the cylinder is compressed and the
fuel is injected into the cylinder when the piston is
near the to
p of the compression stroke. Com bustion
begins when the fue l mixes with the air. The force of
combustion pushes the piston on the power stroke.
The exhaus
t valves open and the exhaust gases
are pushed through the exhaust port into exhaust
manifold (8). After the piston finishes the exhaust
stroke, t
he exhaust valves close and the cycle begins
again.
Exhaust g
ases from the exhaust m anifold flow
into the turbine side of turbocharger (5). The high
temperature exhaust gases cause the turbocharger
turbine w
heel to turn. The turbine wheel is connected
to the shaft that drives the compressor wheel.
Exhaust gases from the turbocharger pass through
exhaust
outlet (4), through a muffler, and through an
exhaust stack.