
SEBU8213-04 109
Maintenance Section
Engine Valve Lash - Check
3. Remov e the cran
kcase drain access cover, which
is in the crankcase guard.
g01400180
Illustration 147
4. Open crankcase drain valve (4). Allow the oil to
drain into a suitable container.
5. Remove engine oil filter element (3) and discard
the engine oil filter element properly. Make sure
that all of the old filter seal is removed from the
filter base.
6. Apply a thin coat of clean engine oil to the seal on
the new filter. Install new engine oil filter element
(3) by hand.
Instructions for the installation of the filters are
printed on the side of each Caterpillar spin-on
filter. For non-Caterpillar filters, refer to the
installation instructions that are provided by the
supplier of the filter.
7. Close crankcase drain valve (4). Replace the
crankcase drain access cover that is in the
crankcase guard.
8. Remove the oil filler cap (1). Fill the crankcase
with new oil. See Operation and Maintenance
Manual, “ Capacities (Refill)”. Clean the oil filler
cap and install the oil filler cap.
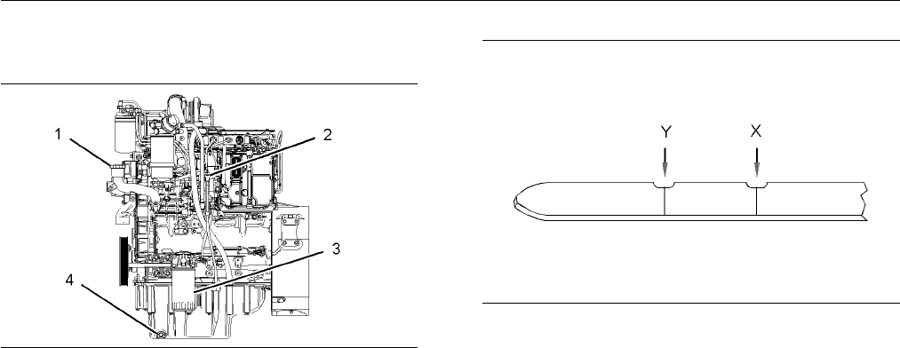
9. Always measure the oil level with dipstick (2) in
order to ensure that the correct amount of oil was
added.
g01165 836
Illustration 148
(Y) Min mark
(X) Max mark
10. On the dipstick, maintain the oil level between the
“ADD” mark and the “FULL” mark.
11. Replace the lower service access door on the left
side of the machine.
12. Close the left engine access door.
i01181 536
Engine
Valve Lash - Check
SMCS Code: 1102; 1209
For the correct procedure, refer to the appropriate
Service Manual module for your machine's engine or
consu
lt your Caterpillar dealer.
Note: A qualified mechanic should adjust the engine
valv
e lash because special tools and training are
required.
i02624244
Eth
er Starting Aid Cylinder -
Replace
SM
CS Code: 1456
1. Open the engine access door on the left side of
th
e machine.